索尼新专利:游戏角色口型能同步不同语言
时间: 2025-04-09 11:12:55
小编: 网友
近十年来AI和游戏技术飞速发展,游戏公司也在争相申请最疯狂的专利创意。现在索尼的一项新专利,可能将彻底改变我们所知的的游戏开发。近日索尼公布了一项新专利,其描述了一套面向游戏NPC的次世代唇形同步系统
近十年来AI和游戏技术飞速发展,游戏公司也在争相申请最疯狂的专利创意。现在索尼的一项新专利,可能将彻底改变我们所知的的游戏开发。

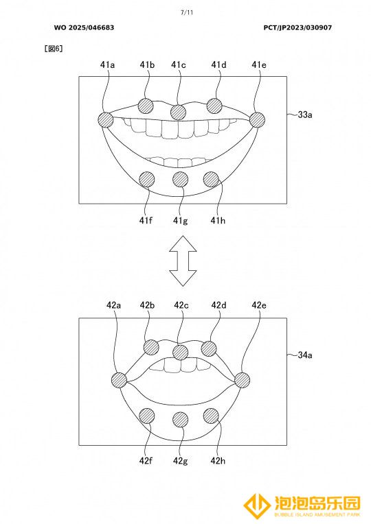
近日索尼公布了一项新专利,其描述了一套面向游戏NPC的次世代唇形同步系统,能轻松实现多语言版本下译制台词与嘴部动作的匹配。
这套系统能评估NPC嘴部动作在所有支持语言中的表现效果,并为开发者生成相似度评分供开发参考。同时还包含自动化修复方案,通过动态调节译制语音时长与角色下颌运动轨迹,精准对齐原始台词时序节奏。
索尼称NPC口型与本地化语音的错位会破坏沉浸感,从而让玩家失望。传统手动调整方式费时费力,而该技术将把开发团队从重复劳动中解放出来。若该技术最终落地应用,可能会显著缩短游戏开发时间。

